IOMEGA CORPORATION
TAPE 250 INSIDER
|
Device Type |
Tape Drive |
|
Interface |
Floppy |
|
Format |
QIC-40 (read) QIC-80 (read/write) |
|
Sustained Transfer Rate |
500KBPS/1MBPS |
|
Size |
3.5 in. quarter height |
|
View |
Top |
|
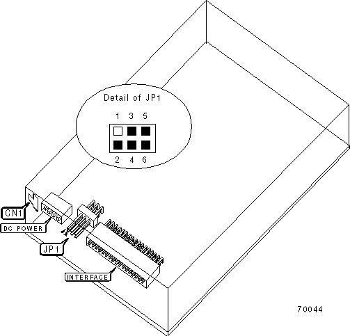
CONNECTIONS | |
|
Function |
Label |
|
Ground connector |
CN1 |
|
DRIVE SELECT |
|
Note: Pins 1 & 2 should be closed in all circumstances for factory drive select. Pins 3-6 are not currently supported. |
|
MANUFACTURERS RECOMMENED MEDIA | ||
|
Tape |
Capacity Without Compression |
Capacity With Compression |
|
QIC-40 (205/307.5ft.) |
40/60MB |
Unidentified |
|
QIC-80 (205/307.5ft.) |
80/120MB |
Unidentified |